Electric Motor Drives

An electric motor is a transducer that converts electrical energy into mechanical energy by means of DC or AC power supply. These motors are used as actuators in many industrial robots, the main reason being that they generate high torques for their size and are easily controlled by a microprocessor.

A motor used to drive a robot arm should be able to :-

  1. Provide a maximum torque sufficient to permit the robot to lift the heaviest object it may be expected to work with.
  2. Rotate over a range of speeds considered necessary by the designer.
  3. Controllable in such a way that it can produce any value of torque at any speed provided these fall within the ranges mentioned in 1 and 2.
DC Motors - AC Motors - Stepper Motors

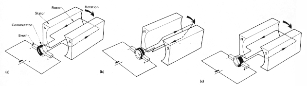
DC Electric Motors

The DC motor operates on the principle of an electric current flowing through a wire wound armature or rotor which is positioned inside a magnetic field. This magnetic field is developed either from permanent magnets or by means of an electromagnet called a stator. Connected to the armature is the commutator through which the supply current flows via carbon brushes.


A DC current is supplied to the brushes which is passed to the commutator and so to the wire wound armature which creates a magnetic field, this repels the magnetic field of the stator magnet and causes the coil to rotate in the direction of the arrow. If the current were to continue flowing in the direction shown in (a) the coil would come to rest in the vertical position after rotating through 90 degrees. However the momentum of the coil enables it to pass through the vertical position shown in (b). The commutator then causes the direction of the current in the coil to reverse. The current now produces a magnetic repulsion which turns the coil through a further 90 degrees to the position shown in (c), where the cycle repeats.

AC Electric Motors

In many of the newer robots an AC motor replaces the DC motor as the actuator. The reason for this that the AC induction motor can produce the same power output as a DC motor but with a higher torque and a reduction in size. Added to this, the AC motor does not require brushes or commutator, is self cooling and is completely enclosed, thus reducing maintenance.
The operation of an AC induction motor can be simply explained. An AC voltage is applied to windings on a stationary stator, producing a magnetic field around it. This induces a current flow in the rotor conductor which is situated in the stator field and this in turn causes a magnetic field of opposite polarity around the rotor, as the two fields repel each other, the rotor turns and hence an output torque is developed.

Stepper Motors

Stepper motors are not generally used for driving the axis movements of industrial robots but they are used for various robot applications where low torques are required. Unlike the DC "motor, the rotor has teeth or steps and rotates in magnetic fields generated by multiple" permanent magnets in the stator.
Fig 1 shows the principle of operation of a permanent magnet stepper motor. The polarity of the magnets in the stator poles is changed when electrical currents are pulsed into "the stator windings. When one stator pole is turned on, the stator pole next to it is turned off." This turning on and off of stator poles and the resulting change in the polarity of each stator "pole from north to south, causes the rotor to be attracted from one pole to the next, thus" causing the rotor to rotate.

Operating principle of a permanent magnet stepper motor.